Terug naar overzicht

Patenten beschermen concrete uitwerkingen

  • Patenten
Patenten beschermen concrete uitwerkingen

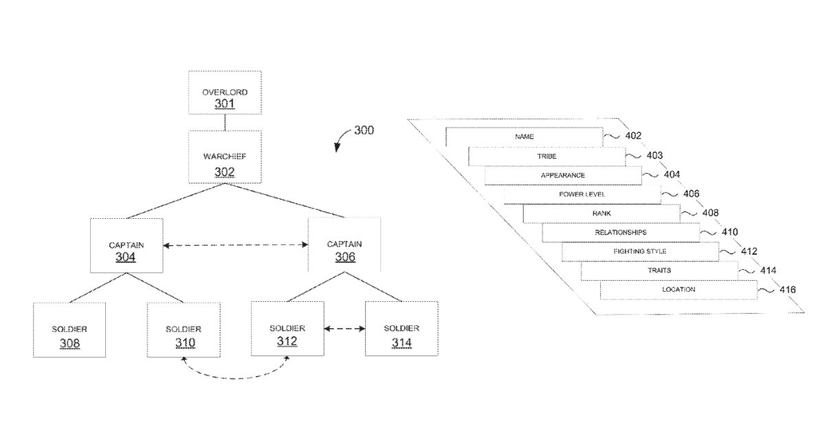
Wat gebeurt er met creativiteit als kopiëren geen optie is? Het Middle-earth: Shadow of Mordor Nemesis-patent is een voorbeeld dat door veel mensen wordt aangehaald als het over het beperken van game ontwikkelaars gaat. Het patent beschermt geen generiek spelelement als “springen” of “schieten in first person”, maar een specifieke mix van AI-geheugen, hiërarchieën en procedurele storytelling. Hierdoor is het minder beperkend als dat het misschien op het eerste gezicht lijkt.

Zulke systemen kosten jaren en miljoenen om te bouwen. Zonder bescherming kan een andere studio morgen kopiëren en profiteert de maker niet. Patenten zorgen dat risico nemen loont. Andere ontwikkelaars hadden ook een licentie kunnen uitonderhandelen met Warner Bros., de eigenaar van het patent.

Grenzen remmen niet, ze sturen.

Patenten dwingen ontwikkelaars niet tot stilstand, maar stimuleren juist nieuwe vormen van creativiteit. Door grenzen te stellen, worden ontwikkelaars uitgedaagd om alternatieven te bedenken in plaats van simpelweg te dupliceren.

Zo leidde de patentbescherming van andere systemen in het verleden niet tot stagnatie, maar tot vernieuwing binnen genres. De ontwikkelaars van Watch Dogs: Legion bedachten bijvoorbeeld rekrutering en persoonsgebonden NPC’s in plaats van een 1-op-1 kopie van een bestaand systeem.

Een patent is bovendien tijdelijk. Het Nemesis-patent loopt tot 2036. Daarna kan iedereen ermee aan de slag.

Patenten verbieden geen ideeën, ze beschermen concrete uitwerkingen. Dat geeft ruimte voor geïnspireerde variatie in plaats van klakkeloos kopiëren.

 

1761123158226

 

Stel een vraag aan Tim

Innovatie in de operatiekamer

Innovatie in de operatiekamer

  • Patenten
SME Fund opnieuw open voor Europese patentaanvragen

SME Fund opnieuw open voor Europese patentaanvragen

  • Patenten
Is een patent als een goudstaaf in de kluis?

Is een patent als een goudstaaf in de kluis?

  • Patenten